Så monterar du din ytterdörr
Vad roligt att du köpt en ytterdörr från Diplomat Dörrar! Här hittar du monteringsanvisningarna. Läs igenom anvisningarna noga innan du påbörjar montaget.

Innan du monterar din dörr
Dörrar skall förvaras i ett torrt utrymme. Förvara stående eller liggande, men låt aldrig dörren ligga direkt på ett golv utan placera till exempel frigolit under dörren. . Löst levererade beslag och tillbehör ska lagras inomhus.
Vill du läsa monteringsanvisningarna i PDF-format så finns dessa att ladda ner här. Har du en dörr klassad med extra inbrott eller brandsäkerhet hittar du även speciella instruktioner i PDFen.
Dessa verktyg behöver du:
Långt vattenpass
Skruvdragare
Torx-bits
Insexnycklar
Drevremsor
Nivåregleringsklossar
Bleck eller skärmtak om takutsprång saknas
Ev. cylinder, cylinderbehör och handtag om detta inte beställts tillsammans med dörr
Vägghålens mått
Vägghålets mått ska vara 15-30 mm större än karmens yttermått för att få plats att dreva/täta mellan karm och vägg. Avstånd mellan dörr och vägg bör vara lika stort på samtliga sidor.
Infästningsmetod och väggmaterial
1. Till allt montage ska medföljande karmhylsor användas eller motsvarande hylsa som uppfyller krav enligt SS 817332.
2. Samtliga fästhål skall användas och alla skruvar ska kunna fästas ordentligt i underlaget. Väggen kan behöva förstärkas för att kunna uppnå detta.
3. Medföljande skruv är avsedd för montage i träregel och betong inte porösa material exempelvis lättbetong. Betongväggar och väggar i porösa material kan behöva kompletteras med plugg.
Rekommenderad skruvlängd
Träregel och betong: min 60 mm (skruven ska gå minst 45 mm in i väggstommen).
Porösa väggmaterial, t.ex. lättbetong: min 130 mm (skruven ska gå minst 115 mm i in väggstommen).
Vald montagemetod ska medge efterjustering av karmen för att garantier ska gälla.
Montering av ytterdörr

1. Kontrollera med vattenpass att underlaget är i våg. Använd annars nivåregleringsklossar i fuktavvisande material, för att uppnå detta.
Klossarna ska placeras max 100mm från karmens ytterkant. De ska vara minst 20mm mindre än karmdjupet, för att kunna ge utrymme för obruten drevning.
Tips! Fler än 2 klossar kan behövas för att undvika risk att tröskeln sviktar.

2. Låt dörren ligga ned. Öppna låset med mejsel eller handtag. Lyft av dörrbladet från karmen.
Ställ dörrbladet på mjukt underlag för att undvika skador på underkanten.
Skador i ytskiktet kan leda till att fuktskador av dörrbladet som inte täcks av garantin.
3. Om sido- eller överljus ska monteras samtidigt, se denna artikel.

4. Ställ dörrkarmen på nivåregleringsklossarna i vägghålet.Justera så att karmen hamnar rätt i djupled.
Tips! För att minska risken att karmen faller ut kan klossar fästas som stöd på utsidan.
5. Skruva ut karmhylsorna mot vägghålet sidor. Samtliga karmhylsor ska kunna ligga an mot väggen så att man uppnår ett stumt montage. (I de fall karmen inte har förmonterade hylsor ska dessa skruvas in från karmens baksida m.h.a insexnyckel eller montageverktyg från tillverkaren).
Tips! Vid porösa väggmaterial kan tryckfördelningsbrickor behöva fästas på hylsornas baksida.

6. Kontrollera med ett långt vattenpass att karmsidorna är helt raka och varken lutar in mot rummet eller ut mot utsidan. Kontrollera även att karmsidorna är raka och inte buktar inåt eller mot mitten.
Springan mellan karm och vägg ska vara jämn runt om 7,5-15mm. Justera vid behov med hjälp av karmhylsorna.

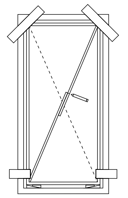
7. Kryssmät karmen för att säkerställa att karmen står rätt. Detta är uppnått när båda diagonalmåtten är lika.
Justera vid behov med hjälp av karmhylsorna.
8. Skruva fast karmen i väggen. Samtliga infästningshål ska användas.
Använd skruv som fäster ordentligt i det aktuella väggmaterialet. (se avsnitt ”innan du monterar” för rekommendation).
Tips! Börja att skruva fast karmens gångjärnssida, kontrollera med vattenpass, gör ev. justeringar och fortsätt sedan med slutbleckssidan.

9. Kontrollera åter med vattenpass att karmen är rak i alla sidor enligt anvisningar. Justera montaget vid behov genom att lossa skruv och hylsa, kontrollera på nytt och skruva ut hylsan och skruva i skruven.
OBS! Att på detta sätt säkerställa att karmen sitter rakt monterad är helt avgörande för täthet och funktion.
10. Dra åt monteringsskruvarna och häng tillbaka dörrbladet i karmen.
11. Kontrollera att springan mellan karm och dörrblad är jämn runt om.
Springan ska vara 2-3 mm runt hela dörrbladet. För att uppnå detta kan dörrbladet höjdjusteras med hjälp av gångjärnen. Skruva av gångjärnslocket och justera med hjälp av insexnyckel. Dörren rör sig upp vid rörelse medsols och ner när man vrider motsols. Se till att alla gångjärn justeras lika mycket.
Tips! Gångjärnen kan även ställas i sidled. Lossa gångjärnsskruvarna på karmdelen lite grann och justera i sidled genom att skruva ut torxskruvarna. Dra åt gångjärnsskruvarna efter avslutad justering

12. För att justera stängningstrycket och få dörrbladet att ligga i liv med karmen kan man behöva justera slutblecket.
Den invändiga delen av blecket är rörlig och går att justera i djupled genom att lossa slutbleckets båda justerskruvar.
13. Olja in ektröskeln med träolja.
14. Täck infästningshålen med medföljande täckplugg.
15. Dreva/täta runt om karmen och täck med foder.
16. Om dörren sitter utan takutsprång ska bleck eller skärmtak monteras för att leda bort fukt ovanifrån.


